This project showcases a complete front and backyard landscape transformation centered around a high-performance permeable driveway extension, expansive interlocking patio installation, and custom garden features. The renovation was designed to improve drainage, expand usable outdoor space, and create a cohesive modern aesthetic. Every stage emphasized engineered base preparation, premium materials, and expert craftsmanship.
The front of the property was upgraded with a professionally installed permeable interlock driveway extension, designed to enhance water management and long-term structural stability. Existing driveway sections were carefully relayed to ensure proper base preparation and seamless integration.
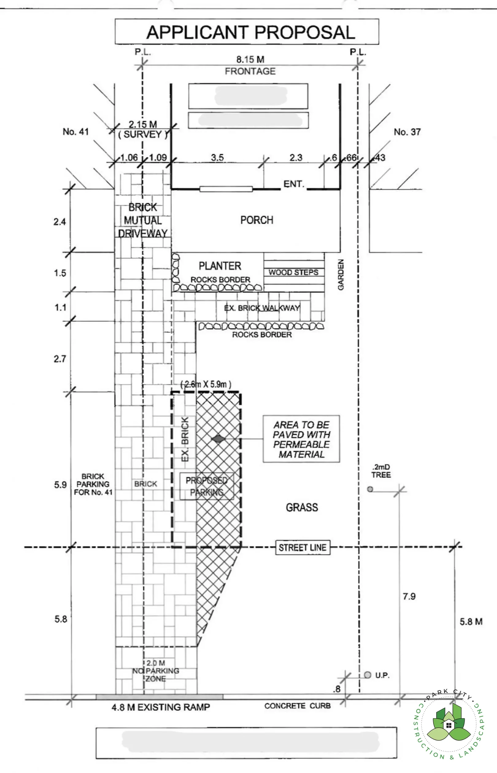
We installed a custom front patio interlock section paired with precision-built garden walls to define planting areas and add architectural interest. These elements create a clean transition between hardscape and softscape zones.
The centerpiece of this project is a large backyard interlocking patio, engineered for durability and everyday outdoor living. Proper excavation and compaction ensure long-term resistance to settling and shifting.
To complete the transformation, we installed fresh sod and applied mulch to enhance curb appeal and create a polished landscape finish. These softscape elements balance the hardscape features and promote healthy plant growth.

This project showcases a complete custom landscape construction and interlock patio installation designed to transform a residential property into a durable, functional, and visually striking outdoor space. Our team delivered expert craftsmanship using premium materials, focusing on structural integrity, clean design, and long-lasting performance. Every phase of this project was carefully planned and executed to ensure seamless integration between the interlock steps, patio surfaces, and retaining features.
The centerpiece of this project is a large-scale interlock patio system combined with precision-built interlock steps that create a smooth transition between elevations. We excavated to proper depth and installed a reinforced crushed limestone base with high-performance bedding to prevent settling and ensure durability. The result is a clean, modern patio surface built for heavy use and year-round weather resistance.
To define the space and support elevation changes, we constructed custom block walls, curbing stones, and a hidden retaining wall system. These structural elements provide both aesthetic appeal and essential reinforcement for the raised patio areas. Each wall includes below-grade reinforcement and secure bonding to ensure long-term performance.
We enhanced the surrounding landscape with professionally prepared garden beds and a custom stepping stone pathway. The garden areas were excavated and filled with high-quality planting soil, mulch, and landscaping fabric to promote healthy growth and reduce maintenance. The stepping stone walkway adds both function and visual interest, creating a natural flow through the outdoor space.
In addition to the hardscape features, we completed important structural upgrades and natural stone enhancements to elevate both safety and design. Additional deck footings were installed to improve structural support, and natural stone elements were incorporated to provide a premium finish at key focal points of the property.
.webp)
This project highlights a complete backyard landscaping renovation combining custom horizontal fence installation, retaining wall construction, and hardscape upgrades to transform an underutilized outdoor space into a clean, modern, and functional environment. From large-scale site cleanup to detailed finishing work, every stage focused on durability, safety, and long-term performance. The result is a professionally designed backyard built for both everyday living and visual appeal.
A major feature of this project was the installation of a modern horizontal wood fence built with pressure-treated lumber and reinforced concrete-set posts installed below the frost line. The fencing connects seamlessly to existing structures while delivering enhanced privacy and a contemporary aesthetic. Each section was framed for strength and long-term resistance to weather conditions.
To manage grade changes and create usable outdoor levels, we constructed engineered block retaining walls with reinforced concrete footings and professional parge finishes. Integrated modern stone steps and deck stair extensions provide safe transitions between elevations while maintaining a cohesive design throughout the backyard.
The backyard layout was enhanced with interlocking slab patio features, decorative pea gravel zones, and a structured stepping stone pathway. Proper excavation and base preparation ensure long-lasting performance, while landscaping fabric and drainage planning minimize maintenance and weed growth.
Softscape elements completed the transformation with new sod installation, front yard mulch application, and detailed grading. These finishing touches provide a clean, polished appearance while supporting healthy plant growth and improved drainage across the property.
The project also included low-voltage outdoor lighting installation, tree removal, fence post replacement, and miscellaneous finishing work to ensure the property is safe and visually cohesive. Integrated deck lighting and flood lights enhance nighttime usability and highlight architectural features.

This project features a full front porch renovation and interlocking walkway installation, transforming the home’s entrance into a modern, durable, and welcoming outdoor space. Our team completed detailed demolition and site preparation, structural porch upgrades, and precision hardscape work to improve both functionality and curb appeal. Every element was built with long-term durability and clean craftsmanship in mind.
The project began with a comprehensive demolition and disposal service, removing the existing flagstone patio, garden beds, porch decking, and steps. After clearing the space, we completed a front porch refacing, reinforcing the existing structure and installing new pressure-treated decking for improved safety and longevity.
To enhance accessibility and functionality, we constructed a custom porch landing and step system supported by deep concrete footings for maximum stability. A built-in pressure-treated bench was added to provide seating while discreetly covering utilities, blending practicality with thoughtful design.
A key highlight of this renovation is the interlocking paver walkway, designed to deliver both durability and visual appeal. The walkway was excavated to proper depth and built with a reinforced aggregate base, high-performance bedding, and sealed joints to prevent shifting and weed growth.
To maintain a clean and organized exterior, we built a custom garbage bin housing enclosure with pressure-treated framing and cedar cladding. Additional finishing carpentry enhanced privacy and visual cohesion around the property.

This project showcases a complete backyard landscape renovation centered around a professionally installed interlock patio, fresh sod installation, and detailed property cleanup. Our team transformed the space into a clean, modern, and highly functional outdoor area designed for relaxation and entertaining. From machine access preparation to final landscaping finishes, every stage focused on durability, drainage, and long-term performance.
The focal point of this renovation is a precision-built backyard interlocking patio designed to maximize usable space while managing elevation changes. Deep excavation, a reinforced crushed limestone base, and professional compaction ensure long-lasting structural stability. A retaining wall system was incorporated to control slope and maintain a clean patio layout.
To safely execute the renovation, we completed project access modifications by removing and reinstalling fencing to allow machine entry. A large-scale backyard cleanup followed, clearing weeds, shrubs, and debris to create a fresh foundation for landscaping improvements.
A new sod installation revitalized the backyard lawn, creating a soft, even surface that complements the hardscape features. The area was stripped, regraded, and enriched with fresh topsoil to promote healthy root development and long-term lawn performance.
To complete the transformation, we installed landscaping fabric and black mulch across large garden areas to reduce maintenance and improve curb appeal. Additional stepping stones, tree trimming, and finishing touches enhanced both accessibility and aesthetics.
.webp)
This project features a comprehensive backyard landscape renovation combining large-scale interlock relay, new patio installation, custom fencing, and structural upgrades. Our team revitalized the entire outdoor space by restoring existing stonework, adding modern hardscape features, and improving safety and functionality. Every component was engineered for durability, drainage, and long-term performance while maintaining a clean, cohesive design.
The foundation of this renovation involved a large-scale interlock relay project, restoring approximately the entire existing patio system to eliminate uneven surfaces and settling. Additional patio interlock installation expanded the outdoor living area with proper excavation and reinforced base preparation for maximum durability.
To enhance security and privacy, we installed a fully private vertical fence built with pressure-treated lumber and deep-set structural posts. A matching custom gate with heavy-duty hardware provides easy access while maintaining a consistent aesthetic.
We reinforced the landscape with a precision-built retaining wall system and completed a step and landing relay to restore safe transitions between elevations. Proper drainage integration ensures long-term structural performance.
New concrete pads were constructed to support outdoor structures, using reinforced concrete and a compacted stone base. A licensed plumbing installation extended a heat-traced water line to the greenhouse, improving year-round usability.
The project concluded with integrated landscape lighting installation, enhancing nighttime visibility and highlighting key features. These finishing touches elevate both safety and aesthetics.

This large-scale project showcases a full front and backyard landscape renovation, combining structural retaining wall construction, premium interlocking stone installation, driveway upgrades, and custom outdoor features. The property was transformed into a cohesive, modern outdoor living space designed for durability, drainage, and long-term curb appeal. Every phase was executed with professional excavation, engineered base preparation, and high-end finishing.
We began with the installation of a reinforced retaining wall system designed to stabilize grade changes and improve drainage. The driveway was fully upgraded with new asphalt paving and a decorative interlocking border strip, creating a durable and visually refined entrance.
The front entrance was rebuilt with precision-crafted porch walls, wide stone steps, and interlocking pavers to enhance accessibility and curb appeal. Structural footings and premium stone materials ensure long-term stability and a clean architectural finish.
A large backyard interlocking patio was installed to create a functional outdoor entertainment area. Deep excavation, compacted aggregate base layers, and professional edging systems guarantee long-lasting performance and resistance to settling.
We installed new privacy fencing integrated with structural retaining elements to maximize usable yard space. Matching custom gates provide convenient access while maintaining a cohesive design.
The project concluded with the installation of a prefabricated wall-mounted gazebo, new aluminum porch railings, and removal of outdated structures. Concrete footings were poured to securely anchor the gazebo for year-round use.


Park City Landscaping & Construction Inc. completed a full backyard landscape renovation in Toronto, combining custom deck construction, interlocking paver installation, retaining wall work, and new fencing to create a durable and modern outdoor living space. This project focused on upgrading structural elements while improving the overall function and appearance of the property.
The existing outdoor deck was partially demolished and fully refaced with new pressure-treated deck boards, along with the construction of new code-compliant stairs. Structural improvements included reinforcing joists, installing waterproofing protection, and adding new deck footings and ledger support for long-term stability.
A 260 sq. ft. interlocking paver patio was installed to create a functional outdoor entertaining area. The patio was built on a deep excavated base with crushed aggregate and precision bedding for durability and proper drainage.
A new retaining wall was installed along the south side of the property to level the yard and support the new patio. This addition improves both the structural balance and the visual layout of the backyard.
Retaining wall features:
The project also included the installation of a pressure-treated privacy fence and replacement of select fence boards to improve privacy and durability. New sod was added to refresh the lawn and complete the backyard transformation.
This project showcases Park City Landscaping & Construction Inc.’s expertise in:
By combining expert craftsmanship, high-quality materials, and precision installation, we delivered a durable and visually appealing outdoor space built for everyday use and long-term performance.
If you’re looking for professional landscaping contractors in Toronto for deck renovations, interlocking patios, or a complete backyard upgrade, Park City Landscaping & Construction Inc. provides tailored solutions that enhance both function and design.

This project showcases a full backyard outdoor renovation centered around a professionally installed interlocking stone patio, custom-built wood steps, and upgraded fencing and access points. The existing deck and outdated structures were removed to make way for a modern, durable outdoor living space designed for comfort, accessibility, and long-term performance. Every stage of the project focused on expert craftsmanship and engineered base preparation.
The project began with a comprehensive deck removal and disposal service, clearing approximately 300 square feet of old wood decking and sections of fencing. This step created a clean slate for the new landscape build and ensured proper grading and access for construction.
We installed a set of custom pressure-treated wood steps connecting the backdoor to ground level. Designed with open risers to maximize natural light into the basement, the steps combine safety, durability, and clean architectural lines.
The centerpiece of the renovation is a large interlocking backyard patio, professionally excavated and constructed with a reinforced aggregate base. Precision installation ensures long-term resistance to settling while creating a spacious outdoor entertainment area.
To complete the backyard upgrade, we installed a new privacy fence section and custom gate, matching the existing style for a seamless appearance. A complimentary3D landscape rendering was provided to visualize the project before construction began.

This project highlights a full front yard hardscape renovation centered around a premium interlock driveway installation, structural retaining wall construction, and custom stone features. The existing concrete surfaces were demolished and replaced with engineered interlocking systems designed for durability, drainage, and long-term curb appeal. Every phase of the project focused on professional excavation, reinforced base preparation, and precision finishing.
The renovation began with a large-scale concrete demolition and disposal, removing outdated backyard concrete and preparing the site for new hardscape installation. Deep excavation ensured a stable foundation for the upcoming interlock work.
The centerpiece of this project is a professionally installed interlock driveway, constructed with premium stone and an engineered aggregate base. This system provides superior load-bearing strength and resistance to shifting.
To define the driveway and manage elevation changes, we installed decorative curbing stones and a reinforced retaining wall system. These structural elements enhance both appearance and long-term stability.
Custom stone steps were added to create smooth transitions between elevations and improve accessibility. These finishing elements complete the cohesive design of the exterior space.

This project showcases a full front exterior concrete renovation, including a new concrete driveway, custom concrete steps, structural concrete walls, and decorative finishes. The goal was to improve durability, safety, and curb appeal while creating a clean, modern entrance to the property. Every element was engineered with proper excavation, reinforced bases, and high-strength concrete for long-term performance.
The front entrance was upgraded with professionally formed concrete steps, a structural concrete wall, and continuous concrete curbing to define the landscape and improve accessibility. Existing stone coping was carefully installed on the steps to create a polished finish.
A complete concrete driveway installation replaced the existing asphalt surface, providing a durable and low-maintenance solution. Deep excavation and reinforced concrete ensure the driveway can withstand heavy use and seasonal weather changes.
Toadd a decorative feature, we installed an exposed aggregate concrete pad thatenhances visual appeal while maintaining durability. This surface provides a textured finish ideal for outdoor living spaces.
Throughout the project, proper structural preparation ensured long-term stability and performance. High-strength concrete mixes and reinforcement techniques were used across all installations.
%20(3).webp)
Complete Front & Backyard Landscape Transformation in Toronto
Park City Landscaping & Construction Inc. completed a full front and backyard landscape renovation in Toronto, delivering a custom outdoor space that combines structural integrity, modern hardscape design, and long-lasting premium materials. This project featured retaining wall construction, interlocking paver installation, custom precast steps, garden restoration, and advanced drainage solutions.
The project began with the demolition and disposal of the existing retaining wall and steps, followed by construction of a new engineered retaining wall system using Oaks Nueva 150 blocks. The wall was installed with a deep compacted foundation, geogrid reinforcement, and a built-in drainage system to ensure long-term stability and performance.
Custom retaining wall coping and precast stone entrance steps were added to create a safe, durable, and visually refined entryway that enhances the home’s curb appeal.
In the backyard, a custom interlocking paver patio of approximately 460 square feet was installed using Oaks Nueva 60mm pavers in a modern finish with a contrasting border. The patio was built on a high-performance aggregate base and graded for optimal drainage, creating a durable and elegant outdoor living area.
Patio installation highlights:
New interlocking paver walkways were installed at the front of the property to improve accessibility, safety, and overall design continuity. Matching materials ensure a cohesive hardscape appearance from the front yard to the backyard.
Walkway construction features:
Existing downspouts were buried beneath the new walkway and redirected to garden areas to improve water management and maintain a clean exterior look.
Drainage upgrades included:
The landscape upgrade included garden bed restoration, fresh soil installation, and refinishing of existing stone features to refresh the property.
Finishing work highlights:
This project highlights Park City Landscaping & Construction Inc.’s expertise in:
By combining expert craftsmanship, premium materials, and precision installation, we delivered a durable and visually striking outdoor space built to last.
If you’re looking for professional landscaping contractors in Toronto for retaining walls, interlocking stone patios, or a complete outdoor renovation, Park City Landscaping & Construction Inc. provides tailored solutions that elevate both function and design.

Park City Landscaping & Construction Inc. completed a full-scale luxury landscape construction project in Toronto, Ontario, transforming a newly built residential property into a refined, fully functional outdoor living environment.
This comprehensive project included professional grading, interlock driveway installation, multiple patios and walkways, structural masonry, frameless glass railings, a custom aluminum pergola, irrigation, lighting, sod, and premium planting—all designed to increase curb appeal, improve usability, and deliver long-term durability in the GTA climate.
Every successful landscape build begins below the surface.
Our team performed calibrated grading across roughly 6,000 square feet surrounding the home to meet the approved grading plan and ensure proper drainage for occupancy compliance.
This phase included:
Proper grading establishes the structural integrity required for interlock driveways, patios, retaining walls, and sod installation throughout the property.
A new 1,450sq. ft. interlock driveway was constructed using premium Unilock Beacon Hill 80mm pavers for superior load-bearing strength and timeless curb appeal.
Construction process:
This professionally engineered system ensures a long-lasting driveway solution ideal for Toronto winters.
The property features approximately 1,545 sq. ft. of interlock patios and walkways built with Unilock Beacon Hill 60mm stone, connecting the front entrance, side yards, and backyard entertaining spaces.
These hardscape elements create:
To manage elevation changes and enhance usability, we constructed engineered raised patios, cascading steps, and structural landings using Unilock U-Cara wall systems with precast coping.
These features provide:
To preserve open sightlines while ensuring safety, the project includes approximately 40 linear feet of 10 mm tempered frameless glass railings installed around elevated patio and landing areas.
These modern glass railings deliver:
Frameless glass railings are a premium feature increasingly requested in Toronto luxury landscaping projects, blending safety with clean design.
A 12.5′ ×18′ custom aluminum pergola with mechanical louvers forms the centerpiece of the backyard living area.
This structure provides:
The landscape design integrates multiple masonry elements, including:
These features add:
Soft landscaping completed the transformation through:
This planting plan delivers:
To protect the client’s investment and enhance night time usability, we installed:
These systems ensure:
This project showcases Park City Landscaping & Construction Inc.’s expertise in:
The finished space delivers a high-end outdoor living experience, increased property value, and durable construction built to perform in the GTA climate.
If you’re planning a custom driveway, backyard renovation, pergola installation, or complete landscape design in Toronto or the GTA, Park City Landscaping & Construction Inc. provides:
Contact us today to start planning your dream outdoor space.
%20(1).webp)
This project showcases a full backyard landscape renovation combining a professionally installed interlocking patio, custom-built wood steps, new garden beds, and a complete privacy fence installation. The transformation focused on creating a durable, functional outdoor space with clean lines and modern finishes while improving accessibility and privacy. Every stage included expert excavation, reinforced base preparation, and precision craftsmanship.
The project began with a complete deck removal and disposal, clearing the existing structure to prepare the backyard for new construction. Proper site preparation ensured accurate grading and a stable foundation for the patio and landscape features.
We installed wide pressure-treated wood steps connecting the backdoor to the new patio area, designed with a fully skirted finish for a clean and polished appearance. The staircase provides safe access while enhancing the overall backyard design.
The centerpiece of the project is a large interlocking backyard patio built with premium stone and an engineered aggregate base. Proper excavation and compaction ensure long-term durability and resistance to settling.
To enhance the landscape, we installed a new garden bed with fresh triple mix soil to prepare the area for planting and future landscaping features.
A complete privacy fence installation was completed along multiple sides of the backyard using pressure-treated lumber and concrete-set posts below the frostline. A new custom gate provides convenient access while maintaining a cohesive design.

Park City Landscaping & Construction Inc. completed a full residential landscape renovation in East York, Toronto, transforming both the front and rear outdoor spaces into a clean, functional, and visually cohesive environment.
This project combined driveway expansion, structural retaining wall construction, interlocking patio installation, sod replacement, garden bed preparation, planting, and concrete curbing to create a durable outdoor landscape designed for long-term performance in the GTA climate.
The project began with selective demolition and disposal of existing curbing and a garden bed near the garage to prepare the site for the new driveway extension and landscape layout.
Proper removal and cleanup ensured a clean working surface and allowed the new construction to integrate seamlessly with the existing property features.
To improve functionality and curb appeal, the driveway was expanded with new interlocking pavers across approximately 120 sq. ft., plus an additional small section where the garden bed was removed.
Construction included:
This engineered base structure provides a long-lasting, freeze-thaw-resistant driveway surface suitable for Toronto conditions.
New reinforced concrete curbing was formed and poured to match the existing curb profile, including 10 mm rebar reinforcement for durability and structural integrity.
In addition, a new front garden bed was excavated and filled with triple-mix planting soil, followed by the installation of boxwood plantings to create a clean, low-maintenance landscape feature near the entrance.
A major component of this project was the construction of an approximately 80-linear-foot retaining wall reaching up to 40 inches in height to properly manage grade changes in the backyard.
This engineered wall system included:
The retaining wall provides critical structural support, erosion control, and expanded usable yard space.
To enhance accessibility and visual continuity:
The property received new Kentucky bluegrass sod in both the backyard (approx. 554 sq. ft.) and front yard (approx. 260 sq.ft.), including grading, topsoil preparation, sod laying, and rolling for proper root contact.
This restored healthy green lawn coverage and completed the overall landscape transformation.
A new approximately 500-sq.-ft.interlocking paver patio was installed in the backyard using Oaks Nueva 60 mm pavers to match the front hardscape.
Installation included:
The result is a durable outdoor living surface ideal for seating, dining, and entertaining.
This East York landscape renovation successfully delivered:
Together, these elements created a balanced, low-maintenance, and long-lasting residential landscape tailored to Toronto’s climate and the homeowner’s lifestyle.
Park City Landscaping & Construction Inc. specializes in:
Contact our team today to start designing your custom landscape project in the GTA.

Park City Landscaping & Construction Inc. completed a large-scale luxury landscape and hardscape renovation in King City, transforming the entire property with custom interlocking stone, architectural concrete work, natural stonemasonry, and professional garden construction. This full-property upgrade focused on creating a cohesive, high-end outdoor environment built for durability, drainage performance, and long-term curb appeal.
The front of the property was upgraded with a professionally engineered interlocking stone driveway designed for heavy use and long-term performance. Deep excavation and layered base preparation ensure structural stability through seasonal freeze-thaw cycles.
Driveway installation highlights:
A large custom interlocking patio and multi-level walkway system was installed throughout the backyard and side yard, including a circular feature patio. The design integrates multiple stone patterns and finishes to create a modern outdoor living space.
New architectural concrete surfaces were poured to support entry points and functional backyard zones, including a reinforced hot tub area. Each section was built with proper forming, reinforcement, and expansion control.
The front entrance was enhanced with natural limestone flagstone and a custom-built masonry pillar, creating a striking architectural focal point. Premium materials were selected to match the home’s exterior.
Multiple retaining walls and custom landscape steps were installed to support grade transitions and define outdoor living zones. Hidden structural walls reinforce patio edges and maintain long-term stability.
New garden beds and planting areas were created to soften the hardscape and add visual balance. Fresh soil, mulch, and sod repairs completed the landscape transformation.
This project demonstrates Park City Landscaping & Construction Inc.’s expertise in:
By combining premium materials, expert craftsmanship, and precision engineering, we delivered a high-end outdoor space built to withstand Ontario’s climate while enhancing the property’s value and curb appeal.
If you’re looking for professional landscaping contractors in King City or the GTA for luxury hardscaping, interlocking stone installation, or a complete outdoor renovation, Park City Landscaping & Construction Inc. provides tailored solutions designed for long-lasting performance and elegant design.